ADVANCED MICROCOMPUTER SYSTEMS, INC.
422/485PC-10/DB25
|
Card Type |
Serial card |
|
Chip Set |
Unidentified |
|
Maximum Onboard Memory |
N/A |
|
I/O Options |
Serial port |
|
Data Bus |
16-bit ISA |
|
Floppy drives supported |
N/A |
|
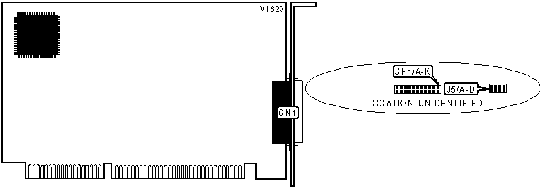
CONNECTIONS | |
|
Function |
Label |
|
25-pin serial port |
CN1 |
|
SERIAL PORT ADDRESS CONFIGURATION | |||||
|
Setting |
J5/A |
J5/B |
J5/C |
J5/D | |
| » |
COM1 (3F8h) |
Closed |
Open |
Open |
Open |
|
COM2 (2F8h) |
Open |
Closed |
Open |
Open | |
|
COM3 (3E8h) |
Open |
Open |
Closed |
Open | |
|
COM4 (2E8h) |
Open |
Open |
Open |
Closed | |
|
Disabled |
Open |
Open |
Open |
Open | |
|
SERIAL PORT 1 INTERRUPT SELECTION | |||||||
|
IRQ |
SP1/A |
SP1/B |
SP1/C |
SP1/D |
SP1/E |
SP1/F | |
|
2/9 |
Closed |
Open |
Open |
Open |
Open |
Open | |
|
3 |
Open |
Closed |
Open |
Open |
Open |
Open | |
| » |
4 |
Open |
Open |
Closed |
Open |
Open |
Open |
|
5 |
Open |
Open |
Open |
Closed |
Open |
Open | |
|
6 |
Open |
Open |
Open |
Open |
Closed |
Open | |
|
7 |
Open |
Open |
Open |
Open |
Open |
Closed | |
|
10 |
Open |
Open |
Open |
Open |
Open |
Open | |
|
11 |
Open |
Open |
Open |
Open |
Open |
Open | |
|
12 |
Open |
Open |
Open |
Open |
Open |
Open | |
|
14 |
Open |
Open |
Open |
Open |
Open |
Open | |
|
15 |
Open |
Open |
Open |
Open |
Open |
Open | |
|
SERIAL PORT 1 INTERRUPT SELECTION (CON’T) | ||||||
|
IRQ |
SP1/G |
SP1/H |
SP1/I |
SP1/J |
SP1/K | |
|
2/9 |
Open |
Open |
Open |
Open |
Open | |
|
3 |
Open |
Open |
Open |
Open |
Open | |
| » |
4 |
Open |
Open |
Open |
Open |
Open |
|
5 |
Open |
Open |
Open |
Open |
Open | |
|
6 |
Open |
Open |
Open |
Open |
Open | |
|
7 |
Open |
Open |
Open |
Open |
Open | |
|
10 |
Closed |
Open |
Open |
Open |
Open | |
|
11 |
Open |
Closed |
Open |
Open |
Open | |
|
12 |
Open |
Open |
Closed |
Open |
Open | |
|
14 |
Open |
Open |
Open |
Closed |
Open | |
|
15 |
Open |
Open |
Open |
Open |
Closed | |