ARTEC

SUPER36X

Device Type

Internal CD-ROM

Interface

ATAPI

Spin Rate (Read)

36x

Formats Supported Read

CD-XA, CD-DA, CD-R, CD-I, CD-ROM (Mode 1), Photo-CD, Video CD, CD-Plus, CD-RW, I-TRAX, UDF, Bootable

View

Top

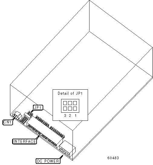
CONNECTIONS

Function

Label

Audio line out

CN1

ATAPI MASTER/SLAVE SELECTION

Setting

 

Master/Slave determined by cabel select

Pins 3 & 6 closed

Slave in two drive system

Pins 2 & 5 closed

Master in two drive system

Pins 1 & 4 closed