6150 Tower
186-006 6150 RT PC  020, 025,  A25 and 6151 RT PC 010

   Six 16-bit and two 8-bit feature slots on models 020 and 025,
    Five 16-bit and one 8-bit feature slots on model 010.
   Two asynchronous (RS-232C) serial ports with direct memory access on models 020 and 025.

Rear of 6150

 

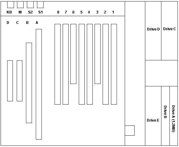
6150 RT Tower Planar
A Processor Board
B Floating Point Board
C Memory Option
D Memory Option
KB Keyboard
M Mouse
1-6 ISA slots
5 AT-Coprocessor slot

   Ed. The slot 1-8 depictions are probably all hosed up.



Slot 5 AT-Coprocessor slot
   The IBM RT 6150 and 6151 system units use ISA (AT) style I/O slots, however slot 5 on the 6151 and slot 8 on the 6150 are unique to the RT. Most cards that do not use memory refresh, or DMA channel 7 will have no problem with that slot.  Bus timings for all the RT bus slots may be slightly different from an AT, as I/O accesses are not driven by the processor directly, but are routed via a special bus processor in the planar, called the IOCC. 

   The 8th slot in the 6150 RT (5th slot for 6150 only)  have three signals different from the normal PC/AT assignments.

 Pin    Standard     CO-proc slot usage    My notes.. 
 B19    REFRESH      + SPK DRV             (Wire or'd to speaker control)
 D14    DACK 7       - DACK 8              DMA channel is reassigned..
 D15    DRQ 7        + DRQ 8                 .. ditto

- The PC XT mono/printer adapter, is ONLY supported in slot 3 in the 6150 tower, or ONLY in slot 1 in the 6151 desktop. [ I'm not sure why this slot 3 restriction is here, what's wrong with slot 6?  Timing? - MW ]

9595 Main Page