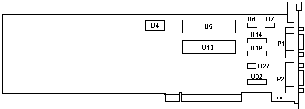
Dual Async Adapter
@EEFF.ADF - IBM
Dual Async Adapter
Incorrect Wiring on P2
Dual Async Adapter 90X9229
P1, P2 DB9 Serial
U4 1.843200 MHz Osc
U5, U13 NS16550AFN |
U6, 7, 27 TI SN75150P
U14, 19, 32 TI SN75154N |
Earlier versions use the NS16550ON chip.
Incorrect Wiring
on P2
Some dual async adapters (PN 72X8529, FRU 6450347) will
cause the system to power off when a plug is inserted into the second async
port. This is caused by an incorrect connection of L2.
The component at location L2 should be connected to the nearest
pin hole (RIGHT), which is the ground of the card. It should not
be connected to the next pin hole (WRONG)
which is the -12 volt land.
The system will not power up when an external device (printer,
plotter, modem, etc.) is connected to Port 2. This includes any device
that has signal and frame ground connected together. If the device does
not have the two grounds connected together, the system will power up.
However, the device will not be functional when connected to Port 2.
To determine if the device is functional, it should be tested on Port 1.
Refer to the diagram to determine if you have an affected
card. Ed. It looks like one could unsolder
the left wire of L2 from the WRONG position, and resolder it into the RIGHT
position.
AdapterId 0EEFFh IBM Dual Async Adapter
Connector x
The IBM Dual Async Adapter can be set as Serial 1 through
8.
<SERIAL 1
(io 3f8-3ff int4)>, 2 (02f8-02ff int3), 3
(3220-3227 int3), 4 (3228-322f int3), 5 ( 4220-4227
int3), 6 (4228-422f int3), 7 (5220-5227 int3),
8 (5228-522f int3)
9595 Main Page
|